1.打包前端Vue文件,在项目的Bin文件夹中有个build.bat 点击运行

2.将生成的dist文件夹移动到远程工具上,自选一个你可以记住的位置。我用的是mobieXterm
3.打开edit侧边栏的maven,你要将ruoyi-admin打包,但是你直接打包可能会显示错误,找不到依赖,点击父目录ruoyi中的install,要先下载依赖,再点击ruoyi-admin中的打包,即可成功。打包后的jar文件存在了项目下的target下。

4.然后拖入到远程连接你指定的文件夹中。
5.配置文件,application-druid.yml 配置你的数据库为你的云服务器上的数据库。

将localhost 换成你的云服务ip地址
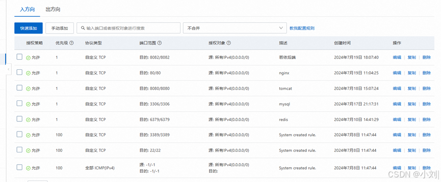
6.进入阿里云服务器安全组,设置开放端口号(你的若依端口号)
7.防火墙端口开启(我是把防火墙整个全关了,很不安全,所以可以设置一下)
8.进入文件夹中输入命令 java -jar +打包的文件名(此时应该看到网页显示你的后端启动)
9.输入nohup java -jar +文件名 这个是挂起的操作,不用开云服务器也能跑。
10.启动下好的nginx
11.配置nginx(最难的一步)
#user root;
worker_processes 1;
#error_log logs/error.log;
#error_log logs/error.log notice;
#error_log logs/error.log info;
#pid logs/nginx.pid;
events {
worker_connections 1024;
}
http {
include mime.types;
default_type application/octet-stream;
#log_format main '$remote_addr – $remote_user [$time_local] "$request" '
# '$status $body_bytes_sent "$http_referer" '
# '"$http_user_agent" "$http_x_forwarded_for"';
#access_log logs/access.log main;
sendfile on;
#tcp_nopush on;
#keepalive_timeout 0;
keepalive_timeout 65;
proxy_connect_timeout 300;
proxy_send_timeout 300;
proxy_read_timeout 300;
#gzip on;
server {
listen 80;
server_name 8.130.67.151;#(你的服务器地址)
#charset koi8-r;
#access_log logs/host.access.log main;
location / {
root /usr/local/project/dist;#(你的dist文件地址)
index index.html index.htm;
try_files $uri $uri/ /index.html;
}
location ~* \\.(jpg|jpeg|png|gif|css|js|ico)$ {#(处理静态资源)
root /usr/local/project/dist; # Vue 项目打包后的 dist 目录路径
expires 30d;
}
#error_page 404 /404.html;
# redirect server error pages to the static page /50x.html
#
error_page 500 502 503 504 /50x.html;
location = /50x.html {
root html;
}
# proxy the PHP scripts to Apache listening on 127.0.0.1:80
#
#location ~ \\.php$ {
# proxy_pass http://127.0.0.1;
#}
# pass the PHP scripts to FastCGI server listening on 127.0.0.1:9000
#
#location ~ \\.php$ {
# root html;
# fastcgi_pass 127.0.0.1:9000;
# fastcgi_index index.php;
# fastcgi_param SCRIPT_FILENAME /scripts$fastcgi_script_name;
# include fastcgi_params;
#}
# deny access to .htaccess files, if Apache's document root
# concurs with nginx's one
#
#location ~ /\\.ht {
# deny all;
#}
location /prod-api/ {# 在网页上F12会发现有这个,请求地址的代理配置,所以一定要加上
proxy_pass http://localhost:8082/; # 替换成前端vite.config.js中targetI地址:后端应用的端口.(设置成云服务器的IP地址,就会有验证码出不来的问题)

# 设置请求头,以保留访问客户端的真实IP地址
proxy_set_header Host $host;
proxy_set_header X-Real-IP $remote_addr;
proxy_set_header remote-host $remote_addr;
proxy_set_header X-Forwarded-For $proxy_add_x_forwarded_for;
add_header 'access-control-allow-origin' '*';
add_header 'access-control-allow-credentials' 'true';
add_header 'access-control-allow-methods' '*';
}
}
# another virtual host using mix of IP-, name-, and port-based configuration
#
#server {
# listen 8000;
# listen somename:8080;
# server_name somename alias another.alias;
# location / {
# root html;
# index index.html index.htm;
# }
#}
# HTTPS server
#
#server {
# listen 443 ssl;
# server_name localhost;
# ssl_certificate cert.pem;
# ssl_certificate_key cert.key;
# ssl_session_cache shared:SSL:1m;
# ssl_session_timeout 5m;
# ssl_ciphers HIGH:!aNULL:!MD5;
# ssl_prefer_server_ciphers on;
# location / {
# root html;
# index index.html index.htm;
# }
#}
}
记住配置完一定要刷新一次。
下面是阿里云安全组配置。

这下就应该差不多喽
网硕互联帮助中心






评论前必须登录!
注册