计算机毕设java学生心理咨询评估系统0we6u9 (配套有源码 程序 mysql数据库 论文)
本套源码可以在文本联xi,先看具体系统功能演示视频领取,可分享源码参考。
随着社会竞争压力持续攀升,大学生群体面临学业负担、就业焦虑、人际关系等多重心理挑战,心理健康问题呈现低龄化与隐蔽化趋势。传统人工咨询模式存在预约流程繁琐、咨询师资源分布不均、学生因 stigma 心理回避线下求助等痛点。数字化心理服务平台通过匿名测评、智能预警与在线干预,能够打破物理空间限制,实现心理问题的早发现、早干预,成为高校心理健康教育工作的必要技术支撑。
本系统采用前后端分离架构,后端基于Spring Boot + MyBatis-Plus构建RESTful API,前端使用Vue3 + Element Plus实现响应式交互,数据库选用MySQL 8.0存储业务数据,Redis缓存热点测评数据与登录会话。系统核心围绕"测评-预警-干预-追踪"闭环设计,覆盖学生端、咨询师端与管理端三类用户场景。
核心功能模块包括:
智能测评中心:内置SCL-90、SDS、SAS等标准化量表库,支持自定义题库配置与动态组卷逻辑;实现测评进度实时保存、断点续答与多维度评分算法,自动生成可视化雷达图与文字解析报告。
危机预警引擎:基于测评结果设定多级预警阈值(关注/追踪/紧急),触发自动预警通知;建立学生心理档案动态画像,记录历次测评轨迹与咨询历史,支持风险等级升降级管理。
在线干预服务:集成即时通讯实现文字/语音咨询预约与匿名倾诉树洞功能;咨询师可发布心理科普文章、冥想音频等干预资源,学生完成打卡任务形成干预闭环。
数据可视化看板:统计各院系测评覆盖率、预警分布热力图、咨询满意度评分;支持测评数据导出与SPSS格式兼容,辅助学术研究。
系统管理后台:量表模板CRUD、咨询师资质审核与排班管理、敏感词过滤与内容审核、操作日志审计与数据备份策略配置。
该系统将标准化心理测量工具与信息化管理手段深度融合,既保障学生隐私安全与测评科学性,又提升高校心理中心的工作效率与服务覆盖面,为构建全员参与的心理健康防护网络提供技术底座。
注:以上是纯课题毕业设计功能介绍,并非实际开发完成,最终开发完成的毕业设计程序以下面的的环境软件、功能图和界面为准。
系统所需要的环境软件:idea、eclipse+mysql5.7、8.0+Navicat+JDK1.8+tomcat7.0
3.1 可行性分析
学生心理咨询评估系统主要目标是实现用户完成的整个学生心理咨询评估管理过程的信息化。在进行系统的设计和实现前,需要先对该系统进行相关的可行性分析,如从法律、操作等方面判断系统在现有条件下是不是能够真正实现的。
3.1.1 技术可行性
本系统在技术层面使用IDEA作为Java开发环境,系统使用SpringBoot框架,本系统选择MySQL数据库系统来开发完成本学生心理咨询评估系统。作为计算机专业的学生,在大学开设的相关专业课程中都包含了这些技术,所以在系统开发技术及应用上都没有太大困难,因此系统开发在技术层面是完全可行的。
3.1.2 操作可行性
学生心理咨询评估系统旨在为用户提供一个简单方便快捷的学生心理咨询评估管理过程。系统的界面简洁,操作方便,即使是不具备很强的网络技术知识的用户也可以轻松使用。在管理员管理模块中,各项内容的管理操作界面也都简洁易懂的,实际操作也十分的简单,能满足基本的需要。因此该系统具有可操作性。
3.1.3 经济可行性
本项目所有功能的开发都是由本人独立完成,而且开发中使用的所有技术及工具也都开源的,易于学习和掌握的,所有省去了请专家开发指导的大笔费用,本系统的开发对计算机的软硬件的要求较低,因此这个系统在经济方面是完全可行的。
3.1.4 法律可行性
本系统属于自己设计的管理系统,因为这个系统在数据管理方面以及软件方面都是应用自己开发的开源代码,不存在模仿或盗用其他人的软件问题,是非常合法的。
从上面给大家讲解的过程不难看出,学生心理咨询评估系统是一个全面优质的系统,我们开发的这个程序也是存在合法和必然性的,而且在技术方面也是过硬的,还节约了成本,难度不大,很适合用户进行操作。
3.2系统流程设计
3.2.1 系统开发流程
学生心理咨询评估系统的设计和开发,首先要对用户的实际使用需求和具体情况进行细致的分析,分析出系统要完成的全部功能,然后再针对整个系统的工作流程和功能进行设计,力求每个模块都能够达到用户的要求,最后通过测试来解决问题,保证系统的稳定和正常的运转,本系统的开发流程如图3-1所示。

图3-1系统开发流程图
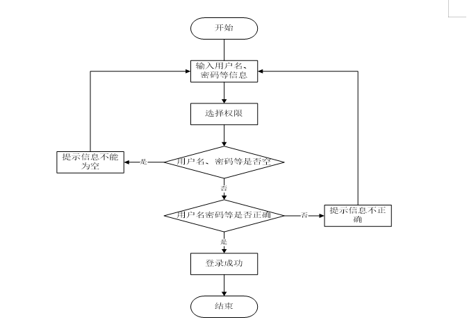
3.2.2 用户登录流程
登录流程实现了管理员和其他用户的登录,在登录页面需要用户填写自己的信息,前端页面会将信息传递给后端接口,然后查询数据库确定该身份有效后登录成功,否则此用户登录失败,需要重新填写信息,进行再次验证,如图3-2所示。

图3-2登录流程图
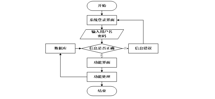
3.2.3 系统操作流程
系统操作流程分析是软件开发过程中的一个关键环节,它是整个系统整体的运行过程,必须保证其中的每一个步骤都是确定的,这样一个规范的流程图可以使开发者易于理解,快速的投入到接口开发中,从而提升系统开发效率。
同时,流程图还能减少开发者对系统操作流程产生歧义和降低沟通的成本,系统操作流程如图3-3所示。

图3-3系统操作流程图
3.2.4 添加信息流程
系统的正常运行离不开数据的支撑,因此,在本系统中添加了数据插入功能,数据库中数据的缺失,会直接影响到数据的查询结果,查询结果错误又会导致逻辑处理出现偏差,最终导致系统性错误或故障,所以在对系统进行数据添加操作时,必须要对数据进行合法性校验,确定此条数据是否有惟一的主关键字和字段是否允许为空等等,若数据库表中不允许某字段为空,而程序没有进行该字段非空逻辑校验,那么就会出现数据存储失败,可能因此造成严重系统后果。添加信息流程如图3-4所示。

图3-4添加信息流程图
3.2.5 修改信息流程
因为使系统的使用者是人,所以难免会有疏忽,从而造成系统输入的信息有误。或者由于其他原因导致数据发生改变,使得必须对系统内的数据进行相应的调整,所以在程序运行中,数据的修改操作是不可缺少的重要环节。
在进行数据更新时,必须要有一个惟一的主关键字,以便数据库能够查询到相应的数据;另外,还必须遵守数据插入过程的操作规范,以确保数据的正确性。修改信息流程图如图3-5所示。

图3-5修改信息流程图
3.2.6 删除信息流程
删除操作在系统中并非是必须的,可根据用户及系统的需要来决定是否添加删除功能,删除操作就是使用delete语句将数据库中的某一匹配数据删除,因为此操作会导致用户数据丢失,所以为了避免使用者误按删除键,应在用户点击删除按钮时添加一个提示确认弹窗,当用户确定要删除时,再进行数据库的操作,并且在删除操作完成后要对用户进行反馈。删除信息流程图如图3-6所示。

图3-6 删除信息流程图
3.3系统用例分析
3.3.1 管理员用例图
学生心理咨询评估系统的最大权限用户是管理员,通过管理员菜单中的个人中心,用户管理,知识分类管理,心理知识管理,测评题目管理,心理测评管理,测评管理等选项来对系统后台信息进行管理。管理员用例如图3-7所示。

图3-7管理员用例图
3.3.2 用户用例图
用户进入系统可以对个人中心,心理知识管理,测评管理等进行操作。用户用例如图3-8所示。

图3-8用户用例图
4 系统设计
4.1 系统概述
学生心理咨询评估系统的设计与开发是指对该系统的各个功能模块进行详细设计,力求每个模块都能够满足用户的要求,系统开发完成后还需对系统进行单元测试和系统测试,发现系统中存在的问题并解决,确保系统正常稳定的运行。学生心理咨询评估系统工作原理图如图4-1所示:

图4-1 系统工作原理图
4.2 系统结构设计
系统结构设计必须要满足用户的业务需求,系统结构设计完成后要形成系统结构设计文档,开发人员就可根据模块接口说明进行接口开发,接口开发完需进行功能测试,目的是发现并解决系统漏洞,同时还得保证系统的可扩展性和稳定性,满足用户对系统的要求。系统设计需满足以下要求:
学生心理咨询评估系统的整体结构设计主要分为两大部分:管理员和用户。管理员的职责是管理用户信息及设置用户权限,发布公告等其他基础功能的管理;整体结构设计如图4-2所示。

图4-2 整体结构设计图
4.3 数据库设计
本系统依赖于MySQL数据库来储存信息,系统完成后,所有需要的数据都要从数据库中读取,这也意味着无论是插入、更新还是删除操作,只要对数据有改动的操作都需要与数据库交互,因此,系统的全部数据都要储存在数据库,必须保证数据库在未经授权情况下不得进行删除表结构等危险操作,而且要保证表中字段的准确性。
4.3.1 数据库设计原则
4.3.2 数据库实体
E-R图,即实体-联系图,它是一种通过对实例进行抽象,以可视化的方式来描述现实世界的概念模型。根据需求分析绘制出数据库的E-R图,能够直观地映射出各个表之间的关系。
本系统的实体属性图如下图所示:
1、用户实体图如图4-3所示:

图4-3用户实体图
2、心理知识实体图如图4-4所示:

图4-4心理知识实体图
3、配置文件实体图如图4-5所示:

图4-5配置文件实体图
4、心理测评实体图如图4-6所示:

图4-6心理测评实体图
5、测评记录实体图如图4-7所示:

图4-7测评记录实体图
5.1系统登录实现
系统登录,在登录页面选择需要登录的角色,在正确输入用户名和密码后,进入操作系统进行操作;如图5-1所示。

图5-1 系统登录界面
5.2管理员模块实现
管理员进入主页面,主要功能包括对个人中心,用户管理,知识分类管理,心理知识管理,测评题目管理,心理测评管理,测评管理等进行操作。管理员主页面如图5-2所示:

图5-2 管理员主界面
管理员点击用户管理。在用户页面输入用户账号,用户姓名和选择性别进行查询、新增或删除用户列表,并根据需要对用户详情信息进行详情、修改或删除操作;如图5-3所示:

图5-3用户管理界面
管理员点击知识分类管理。在知识分类页面输入知识分类进行查询、新增或删除知识分类列表,并根据需要对知识分类详情信息进行详情、修改或删除操作;如图5-4所示:

图5-4知识分类管理界面
管理员点击心理知识管理。在心理知识页面输入知识标题,选择知识分类和知识内容进行查询、删除或新增心理知识列表,并根据需要对心理知识详情信息进行详情、修改或删除操作;如图5-5所示:

图5-5心理知识管理界面
管理员点击测试题目管理。在测试题目管理页面输入心理测评和测评题目进行查询、新增、导出、打印或删除测试题目管理列表,并根据需要对测试题目管理详情信息进行修改或删除操作;如图5-6所示:

图5-6测试题目管理界面
管理员点击心理测评管理。在心理测评管理页面输入心理测评名称和进行查询、新增或删除心理测评管理列表,并根据需要对心理测评管理详情信息进行详情、修改或删除操作;如图5-7所示:

图5-7心理测评管理界面
管理员点击测评管理。在心理测评列表页面输入心理测评进行查询心理测评列表,并根据需要对心理测评列表详情信息进行测评操作;如图5-8所示:

图5-8心理测评列表界面
5.3用户管理实现
用户进入系统可以对个人中心,心理知识管理,测评管理等功能进行操作。用户主页面如图5-9所示:

图5-9用户主界面
源码无偿分享,文未领取
网硕互联帮助中心





评论前必须登录!
注册