计算机毕业设计 java 银行基本业务管理系统 q03vv9(配套有源码 程序 mysql 数据库 论文)本套源码可以先看具体功能演示视频领取,文末有联系 可分享
在金融行业数字化转型的背景下,传统银行基本业务管理模式存在流程繁琐、信息同步不及时、资源调度低效等问题,难以满足用户对便捷金融服务的需求和银行精细化管理的要求。为提升银行业务办理效率和管理水平,依托 Java 技术和 SpringBoot 框架,开发一款覆盖账户管理、资金流转、产品服务等全流程的银行基本业务管理系统,成为行业发展的必然趋势。
该系统以 Java 为开发语言,采用 SpringBoot 框架和 MySQL 数据库,基于 B/S 架构搭建,核心功能包括登录注册、个人信息修改、用户管理、业务员管理、开户申请管理、储蓄账户管理、信用卡账户管理、转入资金管理、转出资金管理、挂失账户管理、银行产品管理、银行网点管理、已购产品管理、支付记录管理、信用卡还款管理、还款记录管理、系统管理等。通过这些功能,实现了银行账户的开户、资金划转、挂失、还款等业务的线上化办理,同时支持银行产品展示、网点查询、交易记录追溯等功能,简化了业务办理流程,让用户足不出户即可完成各类金融操作,让管理员和业务员能够高效管控业务数据,提升银行服务质量和管理效率。
注:以上是纯毕业设计介绍,并非实际开发完成,最终开发完成的毕业设计程序以下面的的环境软件、功能图和界面为准。
系统所需要的环境软件:idea、eclipse+mysql5.7、8.0+Navicat+JDK1.8+tomcat7.0
3.4.1操作流程
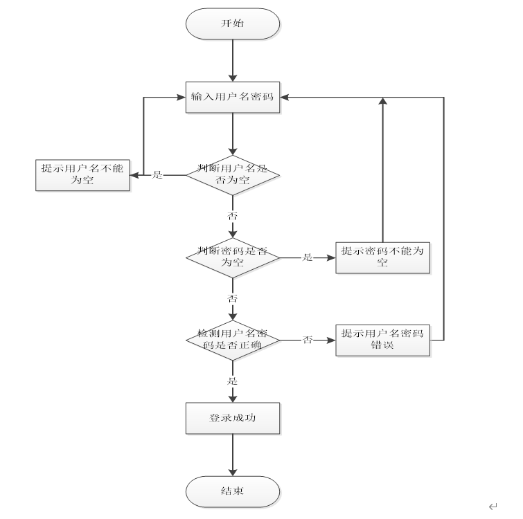
首先为系统登录页面。进入页面后,用户可进行登录和注册的操作。点击登录后,页面就会出现一个登录提示框,向用户传达信息:要进行用户名和密码的输入,完成后才可以进行下一步的操作。用户输入完成后,系统会将输入的信息提交给后台,与数据库中的信息记录进行比较判断。判断比较内容主要分为三个方面:从用户名是否为空、输入的密码是否为空、用户名和密码是否匹配三方面进行判断。只有上述三个条件同时满足,数据库中的信息匹配正确,才视为登陆成功,方可完成后续的操作。若以上三种情况有一条不满足,则会提示该次登录错误,就需要进行重新登录。系统登录流程图如图3-1所示:

图3-1登录流程图
3.4.2添加信息流程
然后是添加信息的页面。进入该页面后,页面会出现一个提示框,示意操作者可以进行信息的添加,从而进行下一步的操作。用户输入想要添加的信息后提交,系统会对输入的内容进行检测。如果检测后输入的信息正确,则会出现“添加成功”的提示框,从而可以进行下一步操作;如果系统检测后检测到想要添加的信息不符合规范要求,则会提示报错,需要进行修改后重新添加。添加信息流程图如图3-2所示:

图3-2添加信息流程图
3.4.3删除信息流程
最后为删除信息页面。进入该页面后,用户可以对所要删除的信息进行选择,选择好删除的内容后,会有一个“是否确认删除”的提示框,操作者可以根据自己的意愿来选择“是”或“否”。完成上述操作,系统会自动的对删除的内容进行判断,如果符合删除要求则会成功删除数据记录,并且更新数据库的内容信息;如果删除的数据记录不符合要求,则会有一个“删除失败”的提示框,操作人员需要根据提示来进行修改,修改完成后重新删除知道删除成功。删除信息流程图如图3-3所示:

图3-3删除信息流程图
4 系统设计
4.1 系统体系结构
银行基本业务管理系统的结构图4-1所示:

图4-1系统结构
登录系统结构图,如图4-2所示:

图4-2登录结构图
4.2 系统总功能结构设计
系统按照用户的实际需求开发而来,贴近生活。从管理员通过正确的账号的密码进入系统,可以使用相关的系统应用。管理员总体负责整体系统的运行维护,统筹协调。
系统整体模块设计:系统分为管理员、用户和业务员三大角色,系统管理员有最大的权限,总体功能展示如图4-3所示。

图4-3 系统总体功能图
4.3开发流程设计
系统开发流程的分析是一个至关重要的过程,它是指通过系统的设计开发目的初衷、面向使用用户的范围、系统运行和操作的安全性、各种问题的处理以及后台数据的分析能力等各个角度,来对银行基本业务管理系统进行设计、开发、搭建和调节,以保证该系统能够顺利的完成,达到预期的工作状态。上述每个环节、每个步骤一开始就要下足功夫,从各个方面、各个角度进行调查研究,进行大量的测试和评估,来保证银行基本业务管理系统的正常和该系统的后台数据库的完整性以及安全性,从而把控系统所包含信息的安全性、确保信息进入、出口顺利过渡。然后,对系统和数据进行操作和分析,根据每一步的执行步骤,完成信息的流程图制作过程。
系统的开发对管理模型和系统应用中的数据库进行了分类,创建代码,以及系统测试,如图4-4所显示。

图4-4开发系统流程图
4.4 数据库设计原则
学习程序设计,如果要了解数据库管理系统或者是根据需求而制定的系统接口,就必须创建一种数据库管理系统的模式,用来保存数据资料,这样当在应用编程过程中时候,就不需要再向操作系统页面上加载信息,进而增加了整个系统的工作效率。信息库管理系统中保存着许多数据,应该说是一个管理信息系统建设的中心和基础,而信息库管理系统也为管理信息系统建设提出了新增、删除、更改和搜索的操作功能,使管理信息系统建设能够迅速地查询所需要的数据,而不会直接从程序代码中查找。信息库管理系统通过将信息表的各个组成部分按照特定的方法准确地合并,排序和组成信息库管理系统。
通过对银行基本业务管理系统的主要功能信息进行规划并分为若干功能实体信息[14],本系统的主要功能实体图如下图所示。

图4-5挂失账户属性图

图4-6银行网点实体属性图

图4-7支付记录实体属性图

图4-8用户信息实体属性图

图4-9信用卡还款实体属性图
5 系统详细设计
5.1系统功能实现
当人们打开系统的网址后,首先看到的就是首页界面。在这里,人们能够看到银行基本业务管理系统的导航条,系统首页界面如图5-1所示:

图5-1 系统首页界面
当系统用户进入系统进行相关操作前必须进行注册登录,如下图所示:

图5-2 -1用户注册界面
图5-2-2用户登录界面
银行产品,用户可在银行产品页面查看产品名称、封面、产品类型、产品编号、发行机构、期限类型、运作模式、募集方式、募集币种、风险等级、投资性质、实际天数、发布时间、金额、点击次数等内容,还可进行收藏或购买等操作,页面如图5-3所示:

图5-3银行产品页面
银行网点,用户可在银行网点页面查看支行代码、支行地址、封面、支行名称、支行电话、服务范围、营业时间等内容,还可进行收藏等操作,如图5-4所示:

图5-4银行网点详细页面
后台管理,用户可在后台管理页面查看个人中心、开户申请管理、储蓄账户管理、信用卡账户管理、转入资金管理、转出资金管理、挂失账户管理、已购产品管理、支付记录管理、信用卡还款管理、还款记录管理等内容,如图5-5所示:

图5-5用户后台功能详细页面
开户申请管理,用户可在开户申请管理页面查看账号、姓名、身份证、开户类型、资料文件、申请时间、审核回复、审核状态等内容,还可进行新增或删除等操作,如图5-6所示:

图5-6 开户申请管理界面
转入资金管理,用户可在转入资金管理页面查看姓名、账号、银行卡号、身份证、转入金额、转入时间、备注等内容,还可进行删除等操作,如图5-7所示。

图5-7 转入资金管理界面
已购产品管理,用户可在已购产品管理页面查看订单编号、产品编号、产品名称、产品类型、发行机构、运作模式、期限类型、募集方式、募集币种、风险等级、投资性质、实际天数、金额、姓名、账号、下单时间等内容,还可进行删除等操作,如图5-8所示:

图5-8 已购产品管理界面
支付记录管理,用户可在支付记录管理页面查看姓名、账号、身份证、银行卡号、订单编号、金额、支付时间等内容,还可进行删除等操作,如图5-9所示:

图5-9支付记录管理界面
5.2后台登录功能模块实现
后台登录通过输入用户名、密码、选择登录角色进行登录,如图5-10所示:

图5-10后台登录功能界面
5.3业务员功能模块实现
业务员通过登录进入系统可查看个人中心、开户申请管理、储蓄账户管理、信用卡账户管理、转入资金管理、转出资金管理、挂失账户管理、信用卡还款管理、还款记录管理等内容,如图5-11所示:

图5-11 业务员功能界面
信用卡还款管理,业务员可在信用卡还款管理页面查看姓名、账号、银行卡号、开户类型、身份证、还款金额、登记时间、备注、状态等内容,还可进行删除等操作,如图5-12所示:

图5-12信用卡还款管理界面
储蓄账户管理,业务员可在储蓄账户管理页面查看账号、姓名、身份证、开户类型、银行卡号、金额等内容,还可进行删除等操作,如图5-13所示:

图5-13 储蓄账户管理界面
信用卡账户管理,业务员可在信用卡账户管理页面查看账号、姓名、身份证、开户类型、银行卡号、金额等内容,还可进行删除等操作,如图5-14所示。

图5-14信用卡账户管理界面
5.4管理员功能模块实现
管理员通过登录进入系统可查看个人中心、用户管理、业务员管理、开户申请管理、储蓄账户管理、信用卡账户管理、转入资金管理、转出资金管理、挂失账户管理、银行产品管理、银行网点管理、已购产品管理、支付记录管理、信用卡还款管理、还款记录管理、系统管理等内容,如图5-15所示:

图5-15管理员功能界面
用户管理,管理员可在用户管理页面查看账号、姓名、身份证、性别、手机、地区、住址、头像、密保问题、密保答案等内容,还可进行新增、修改或删除等操作,如图5-16所示:

图5-16用户管理界面
业务员管理,管理员可在业务员管理页面查看业务工号、业务姓名、头像、性别、年龄、联系电话等内容,还可进行新增、修改或删除等操作,如图5-17所示:

图5-17业务员管理界面
挂失账户管理,管理员可在挂失账户管理页面查看姓名、账号、身份证、银行卡号、金额、挂失原因、挂失时间、审核回复、审核状态等内容,还可进行审核、修改或删除等操作,如图5-18所示:

图5-18挂失账户管理界面
银行产品管理,管理员可在银行产品管理页面查看产品名称、封面、产品类型、产品编号、发行机构、期限类型、运作模式、募集方式、募集币种、风险等级、投资性质、实际天数、发布时间、金额、点击次数等内容,还可进行新增、修改、查看评论或删除等操作,如图5-19所示:

图5-19银行产品管理界面
银行网点管理,管理员可在银行网点管理页面查看支行代码、支行地址、支行名称、公司图片、支行电话、服务范围、营业时间等内容,还可进行新增、修改、查看评论或删除等操作,如图5-20所示:

图5-20银行网点管理界面
银行公告,管理员可在银行公告页面查看标题、图片等内容,还可进行新增、修改或删除等操作,如图5-21所示。

图5-21银行公告界面
源码无偿分享,文末领取
网硕互联帮助中心






评论前必须登录!
注册